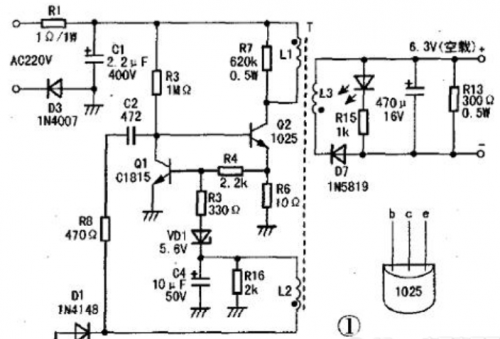
第一種電路原理:AC220V電壓經D3半波整流、C1濾波后得到約+300V電壓,一路經開關變壓器T初級繞組L1加到開關管Q2 c極,另一路經啟動電阻R3加到Q2 b極,Q2進入微導通狀態,L1中產生上正下負的感應電動勢,則L2中產生上負下正的感應電動勢。L2中的感應電動勢經R8、C2正反饋至Q2 b極,Q2迅速進入飽和狀態。在Q2飽和期間,由于L1中電流近似線性增加,則L2中產生穩定的感應電動勢。此電動勢經R8、R6、Q2的b-e結給C2充電,隨著C2的充電,Q2 b極電壓逐漸下降,當下降至某值時,Q2退出飽和狀態,流過L1中的電流減小,L1、L2中感應電動勢極性反轉,在R8、C2的正反饋作用下,Q2迅速由飽和狀態退至截止狀態。這時,+300V電壓經R3、R8、L2、R16對C2反向充電,C2右端電位逐漸上升,當升至一定值時,在R3的作用下,Q2再次導通,重復上述過程,如此周而復始,形成自激振蕩。


在Q2導通期間,L3中的感應電動勢極性為上負下正,D7截止;在Q2截止期間,L3中的感應電動勢極性為上正下負,D7導通,向外供電。圖1中,VD1、Q1等元件組成穩壓電壓。若輸出電壓過高,則L2繞組的感應電壓也將升高,D1整流、C4濾波所得電壓升高。由于VD1兩端始終保持5.6V的穩壓值,則Q1 b極電壓升高,Q1導通程序加深,即對Q2 b極電流的分流作用增強,Q2提前截止,輸出電壓下降若輸出電壓降低,其穩壓控制過程與上述相反。另外,R6、R4、Q1組成過流保護電路。若流過Q2的電流過大時,R6上的壓降增加,Q1導通,Q2截止,以防止Q2過流損壞。
第二種電路原理:220V交流輸入,一端經過一個4007半波整流,另一端經過一個10歐的電阻后,由10uF電容濾波。這個10歐的電阻用來做保護的,如果后面出現故障等導致過流,那么這個電阻將被燒斷,從而避免引起更大的故障。右邊的4007、4700pF電容、82KΩ電阻,構成一個高壓吸收電路,當開關管13003關斷時,負責吸收線圈上的感應電壓,從而防止高壓加到開關管13003上而導致擊穿。13003為開關管(完整的名應該是MJE13003),用來控制原邊繞組與電源之間的通、斷。當原邊繞組不停的通斷時,就會在開關變壓器中形成變化的磁場,從而在次級繞組中產生感應電壓。
由于圖中沒有標明繞組的同名端,所以不能看出是正激式還是反激式。不過,從這個電路的結構來看,可以推測出來,這個電源應該是反激式的。左端的510KΩ為啟動電阻,給開關管提供啟動用的基極電流。13003下方的10Ω電阻為電流取樣電阻,電流經取樣后變成電壓(其值為10*I),這電壓經二極管4148后,加至三極管C945的基極上。當取樣電壓大約大于1.4V,即開關管電流大于0.14A時,三極管C945導通,從而將開關管13003的基極電壓拉低,從而集電極電流減小,這樣就限制了開關的電流,防止電流過大而燒毀(其實這是一個恒流結構,將開關管的最大電流限制在140mA左右)。

變壓器左下方的繞組(取樣繞組)的感應電壓經整流二極管4148整流,22uF電容濾波后形成取樣電壓。為了分析方便,我們取三極管C945發射極一端為地。那么這取樣電壓就是負的(-4V左右),并且輸出電壓越高時,采樣電壓越負。取樣電壓經過6.2V穩壓二極管后,加至開關管13003的基極。前面說了,當輸出電壓越高時,那么取樣電壓就越負,當負到一定程度后,6.2V穩壓二極管被擊穿,從而將開關13003的基極電位拉低,這將導致開關管斷開或者推遲開關的導通,從而控制了能量輸入到變壓器中,也就控制了輸出電壓的升高,實現了穩壓輸出的功能。而下方的1KΩ電阻跟串聯的2700pF電容,則是正反饋支路,從取樣繞組中取出感應電壓,加到開關管的基極上,以維持振蕩。
烜芯微專業制造二極管,三極管,MOS管,橋堆等20年,工廠直銷省20%,4000家電路電器生產企業選用,專業的工程師幫您穩定好每一批產品,如果您有遇到什么需要幫助解決的,可以點擊右邊的工程師,或者點擊銷售經理給您精準的報價以及產品介紹
烜芯微專業制造二極管,三極管,MOS管,橋堆等20年,工廠直銷省20%,4000家電路電器生產企業選用,專業的工程師幫您穩定好每一批產品,如果您有遇到什么需要幫助解決的,可以點擊右邊的工程師,或者點擊銷售經理給您精準的報價以及產品介紹

